方便调节的伸缩杆的制作方法

高清图片下载 免费 安全无风险
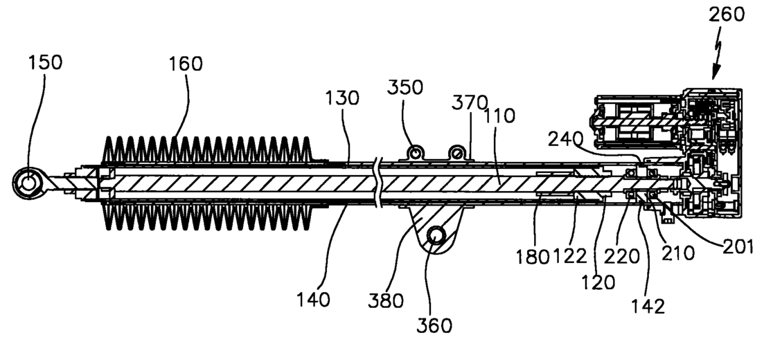
方便调节的伸缩杆的制作方法

方便调节的伸缩杆的制作方法

点击图片查看原图

图片信息

  • 格式: JPG
  • 尺寸: 511x1000
  • 大小: 约1.2MB

版权声明

相关标签

自然风光 高清壁纸 4K画质

分享图片

相关推荐

基于当前图片的相似推荐

臂杆伸缩液压系统原理图

你不知道的汽车起重机知识单缸加绳排伸缩技术

起重机的吊臂伸缩原理

一种起重机内部结构稳定的吊臂支架的制作方法

一文读懂吊车大臂伸缩臂原理

第一伸缩油缸的缸筒的一端与第二伸缩油缸的活塞杆铰接,第一伸缩油缸

一种电动伸缩杆结构以及电动支架的制作方法

一种起重机吊臂制造技术

汽车起重机吊臂构造及伸缩原理ppt

一种多功能伸缩臂风电起重机的制作方法

cn201836162u_伸缩杆失效

cn201133396y_一种可伸缩支撑杆失效

随机推荐

发现更多精彩图片

很浪漫恩爱的甜蜜精美情侣头像 优质浪漫到极致的高质量微信情头_情侣

赵丽颖 错点鸳鸯戏点鸳鸯 杨意柳 苏幻儿

时代少年团tnt舞蹈混剪国风适配练习

一手专业办理国家工商总局无区划无行业名称核准

上下一心准备就绪,平安校园等你归来 ——湛江市第二十一中学有条不紊

地图缩放- finereport帮助文档 - 全面的报表使用教程和学习资料

《孤独的小螃蟹》读书小报#小学生手抄报 - 抖音

阳光女孩 #天生丽质 #笑起来很甜 #清纯一笑倾红颜让风告 - 抖音

最新版2021女生小清新背影花海头像 我能给你一场不分手的恋爱

免费文档 所有分类 工程科技 材料科学 塑料名称及代号 中文名称 备注

别墅庭院围墙大门石材方柱设计参考