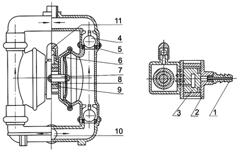
12v紧凑型真空气泵

高清图片下载 免费 安全无风险
12v紧凑型真空气泵

12v紧凑型真空气泵

点击图片查看原图

图片信息

  • 格式: JPG
  • 尺寸: 684x711
  • 大小: 约1.2MB

版权声明

相关标签

自然风光 高清壁纸 4K画质

分享图片

相关推荐

基于当前图片的相似推荐

cn202273823u_一种车用微型气泵有效

纯电动客车打气泵的故障诊断与保养

汽车充气泵叫充气机,打气机,车载充气泵,通过内部马达的运转来工作,抽

cn201159155y_一种充气泵失效

提供一种结构简单,设计合理,使用方便的一种拔插式电源的多功能充气泵

qby型铸铁气动隔膜泵

一种车载充气泵的制作方法

70迈轮胎充气泵青春版体验:一泵多用,智能启停,安心

汽车充气泵和压力表是如何工作的?拆开看看它们的内部构造和原理

台湾kawake负压泵jp-200h模具环保无油真空泵抽气量真空抽气泵

美国sprague products气体增压泵 特力得气驱泵 气动气体增压泵

随机推荐

发现更多精彩图片

复古壁纸 复古素材 拼贴素材 拼贴壁纸

肖战被期待演反派,媒体评价可塑性强,《王牌部队》成征兵宣传片-第1张

和田玉俄罗斯碧玉阳绿卡6珠串108颗

特别仙气的动漫闺蜜头像

深度| 7个月3项目,探万科重返惠州的布局之路_花园

圆明园大水法被称为圆明园的象征,那你知道"大水法"是什么意思吗?

は蛋|郁金香 - 堆糖,美图壁纸兴趣社区

暴漫gif文字表情包gif睡毛啊死了够你睡的gif搞笑gif逗gif沙雕gif

五张超帅的歼-20战斗机照片

巨兵长城传概念版预告超酷来袭

五一劳动节人物素材