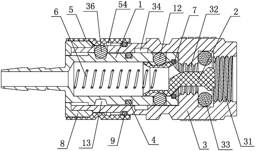
一种打气筒的通用气嘴组件的制作方法

高清图片下载 免费 安全无风险
一种打气筒的通用气嘴组件的制作方法

一种打气筒的通用气嘴组件的制作方法

点击图片查看原图

图片信息

  • 格式: JPG
  • 尺寸: 1000x491
  • 大小: 约1.2MB

版权声明

相关标签

自然风光 高清壁纸 4K画质

分享图片

相关推荐

基于当前图片的相似推荐

先来看一张,普通打气筒的结构图.但是,你知道它的结构吗?

cn85203300u_自行车专用打气筒失效

cn2188660y_活塞式打气筒失效

电瓶电动车气管子打气筒新型三四级3040mpa汽车超高压充气简瓶三级

一种打气筒的通用气嘴组件的制作方法与工艺

cn101737289a_具有底座强固结构的置地式打气筒失效

超强高压打气筒30mpa40mp三级不锈钢气泵瓶汽车高精度小表头不锈钢油

cn202273823u_一种车用微型气泵有效

法嘴 转换头自行车打气筒配件大全打气嘴头多用转换转接头单车法式

一种直线型多气缸超静音充电式打气筒的制作方法

定制打气筒三轮车便携式轮胎加气筒小轿车高压脚踩充气泵脚踏汽车手动

随机推荐

发现更多精彩图片

创意杨幂英文机壳酒红oppo同款磨砂手机手机壳复古红英

郑恺老婆苗苗又惊艳到国外去了穿黑色纱裙配盘发我给100个赞

第二件就是古阿扎本身的舞蹈!

美术字体(美术字体大全简单 设计)

不婚不育,众多大佬为之着迷,"京圈公主"许晴靠的到底是什么?

动物的孩子,猫,波斯人,婴儿,小猫

励志 °告别2018,2019我们一起勇敢前行,努力赚钱

kbs歌谣大祝祭##裴珠泫 白色天鹅裙#来品品南韩神颜irene裴珠泫的

57岁再看任贤齐:他的演艺生涯,他的妻子陈则妤,堪称娱圈罕有

上古十大神器的主人十大神器第一主人是谁揭晓

92天津市十二区县一模试卷9471.#上热门 #高考数学 #每 - 抖音