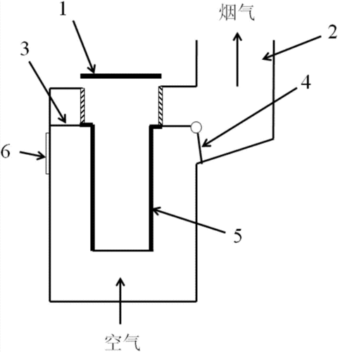
柴气炉原理和方案设想

高清图片下载 免费 安全无风险
柴气炉原理和方案设想

柴气炉原理和方案设想

点击图片查看原图

图片信息

  • 格式: JPG
  • 尺寸: 551x416
  • 大小: 约1.2MB

版权声明

相关标签

自然风光 高清壁纸 4K画质

分享图片

相关推荐

基于当前图片的相似推荐

新式无烟柴火灶建造方法(柴火灶怎样做到无烟)-1

2,通风道的设计通风道是指炉篦以下的空间.

在中国农村是最常见的炊事工具,几乎家家都有,现在的柴火灶常为通过烟

一种无烟燃烧的正烧炊事采暖炉的制作方法

关于进藏用柴气炉做饭的柴火问题

一种无烟燃烧的正烧炊事采暖炉的制作方法

一种柴火集成灶制造技术

cn1391064a_水煤汽式无烟省柴炉灶失效

旺乡邻xw901带脚轮双眼灶不锈钢柴火灶

关于柴火壁炉烟囱的十万个为什么

下吸式双循环秸秆气化炉

随机推荐

发现更多精彩图片

其中男主张彬彬是公认的古装"男神",外形出众,气质儒雅,演技纯熟细腻

吃货头像/吃货必备头像

闺蜜头像好看吗不准搭蓝色的东西哦

沉香如屑|成毅·杨紫

jewelsophy-_-:#吴亦凡# #kris# #exo# gif 130706快乐大本营 【我的

育儿知识大王宝宝画画超级简单易学的简笔画快

电影《八佰》,马克笔手绘

小小梦魇小六手办游戏小小噩梦场景迷你模型可爱玩具机箱摆件周边

潮图,壁纸_动漫图片_我要个性网

显示出浓浓的"白小白风格",独树一帜的个人特色就像一张鲜明的标签

纯种蓝猫幼猫蓝白英短蓝胖子圆脸猫美短活物幼崽猫咪活物矮脚猫