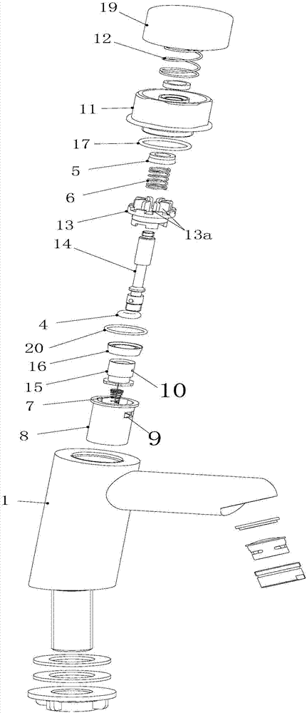
cn2769644y_自动延时关闭按压式水龙头失效

高清图片下载 免费 安全无风险
cn2769644y_自动延时关闭按压式水龙头失效

cn2769644y_自动延时关闭按压式水龙头失效

点击图片查看原图

图片信息

  • 格式: JPG
  • 尺寸: 1243x1417
  • 大小: 约1.2MB

版权声明

相关标签

自然风光 高清壁纸 4K画质

分享图片

相关推荐

基于当前图片的相似推荐

按压式弹性自锁机构,原理真的很巧妙

cn201017795y_按压式开关结构失效

按压式水龙头的制作方法

cn105206438a_一种耐恶劣环境的按压式行程开关有效

cn209343970u_一种按压式开关自锁结构有效

cn209671675u_一种按压式陶瓷阀芯结构

按压自复位式自发电开关

一种饮水机按压式水龙头安装结构-爱企查

一种按压式开盖的保温杯-爱企查

一键按压式开关结构-爱企查

cn213418769u_一种按压式锁扣有效

随机推荐

发现更多精彩图片

【防范365】"理财老师"为你指点迷津,切勿上当受骗!

包公破案的故事有很多,但正史记载的只有这一个

关键词 : 卡通,手绘,霸气,线条龙,漫画,插画, 绘制, 装饰图

十年人间钢琴谱 张起灵 吴邪 王胖子

五线谱的五根线表示的音高是唯一的吗?

宋李嵩骷髅幻戏图38x92cm纸本国画宣纸绢布艺术微喷画芯名画复制原作

女生最绕不过的一台车奔驰进口a200两箱.19款a200动感 - 抖音

警花与警犬:李姝寒和警犬名字一样,一个人跑外面说杜飞坏话,太逗了!