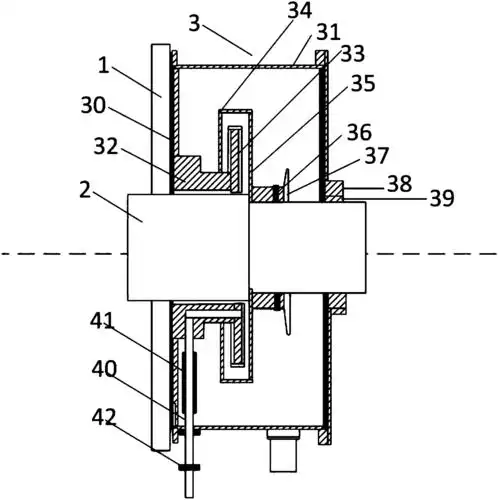
酸性水储罐水封罐堵塞原因

高清图片下载 免费 安全无风险
酸性水储罐水封罐堵塞原因

酸性水储罐水封罐堵塞原因

点击图片查看原图

图片信息

  • 格式: JPG
  • 尺寸: 613x557
  • 大小: 约1.2MB

版权声明

相关标签

自然风光 高清壁纸 4K画质

分享图片

相关推荐

基于当前图片的相似推荐

一,结构(焦炉煤气管道上使用的两室水封,耐压值20kpa)目前我厂使用的

一种直流钛渣电炉煤气柜进口降温式u型水封

煤气水封配水系统优化设计与改造

cn212055915u_一种新型双驱动全封闭煤气水封插板阀有效

一种可以防止煤气泄露的水封式煤气脱水器的制作方法

sfnzf全自动煤气水封逆止阀厂家

cn207999387u_一种煤气除尘风机的水密封结构有效

随机推荐

发现更多精彩图片

橙色头发怎么样,给自己一件键换了色

红色眼睛比基尼动漫少女4k竖屏手机壁纸2160x3840

960_540gif 动态图 动图

适合方圆脸大脸女生的一刀切短发 黑茶色.适合方圆脸/大脸女生 - 抖音

here is the box cover i painted for threezer

债主从国内追到国外,褪去光环的郑爽,如今过得如何?

花臂内侧恢复后纹身图片_手臂新传统纹身图案

男生头像 二次元头像 动漫头像 洛洛

从7月11日开始,运势很好,会鸿运当头,乘风破浪的三大星座

天气之子新海诚要把感动他落泪的夕阳送给你照亮你的生活

62岁蔡明脸又变了保定菜市场拍综艺被偶遇嘴巴鼻子过分僵硬了