超酷戴口罩男生头像

高清图片下载 免费 安全无风险
超酷戴口罩男生头像

超酷戴口罩男生头像

点击图片查看原图

图片信息

  • 格式: JPG
  • 尺寸: 200x200
  • 大小: 约1.2MB

版权声明

相关标签

自然风光 高清壁纸 4K画质

分享图片

相关推荐

基于当前图片的相似推荐

戴口罩的男生头像|青春才几年 疫情占三年

帅气真人不露脸戴口罩男生头像2022冷酷口罩男头图片

帅气真人不露脸戴口罩男生头像2022冷酷口罩男头图片

记得戴口罩 #男生微信头像 #头像 - 抖音

戴口罩帅哥头像 高清帅气的戴口罩真人男头像图片_男生头像_美头网

口罩男生侧脸帅气的真人头像

男生头像冷酷霸气帅气戴口罩

qq头像大全66张戴口罩帅气男生头像

超酷帅气的口罩控男生头像图片

口罩男生侧脸帅气的真人头像

qq头像大全66张戴口罩帅气男生头像

男生动漫头像 男生戴口罩的动漫头像再来16615波儿~酷酷哒,也帅帅

随机推荐

发现更多精彩图片

男古装头发(古装剧中男明星全束发vs披发)(4)

9.8 任家萱&任容萱(机场街拍)

许昕:实在没力气了 刘国梁:出问题敲响了警钟

今年学生流行什么发型学生简单麻花发型3

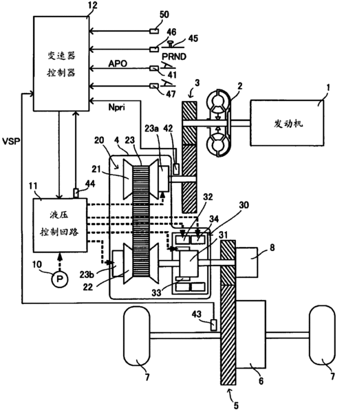
无级变速器及变速控制方法

小熊_纹身图案手稿图片_白水的纹身作品集

微信可爱聊天表情包|今晚能去你家吗

大器晚成的柳云龙:年轻时没戏拍,自己当老板投资后,终于出名_徐欣

韩国小姐姐cos《fgo》赛车尼禄 身姿曼妙尽显万种风情