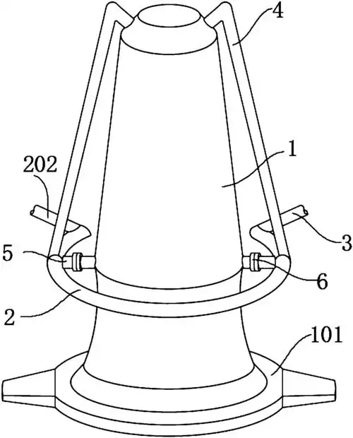
高炉设备以及高炉的操作方法与流程

高清图片下载 免费 安全无风险
高炉设备以及高炉的操作方法与流程

高炉设备以及高炉的操作方法与流程

点击图片查看原图

图片信息

  • 格式: JPG
  • 尺寸: 719x1000
  • 大小: 约1.2MB

版权声明

相关标签

自然风光 高清壁纸 4K画质

分享图片

相关推荐

基于当前图片的相似推荐

一种炼铁高炉用防尘送风装-爱企查

画画的日常 #笔记灵感临摹自~零零遥#零基础学画画 #画画 #临摹

一种节能型高入口熔炼炉

火炉炉子手绘炼丹炉线稿

形,架在一个水平轴架上,可以转动(俗称转炉),主要原料来自高炉铁水

一种节能型高入口熔炼炉的制作方法

火炉简笔画 火炉简笔画怎么画

背景技术:现代高炉炼铁是由古代竖炉炼铁法改造,发展起来的,尽管世界

随机推荐

发现更多精彩图片

可爱的小薇 壁纸 头像 女生 可爱 q版 人物 - 堆糖,美图壁纸兴趣社区

事实上,罗志祥在网上却小动作不断,先是为潮牌po照宣传,按赞张艺兴

探清水河#简谱#升c调#张云雷#德云社背景小曲,间奏有个 - 抖音

动漫男生手机壁纸 锁屏壁纸_浏览器_音乐_月亮

争做锦鲤杨超越同款皮肤

微信头像姓氏头像3d高端精致大气签名头像快来带走换上吧

武汉理工大学南湖校区图书馆-教育建筑案例-筑龙建筑设计论坛

适合女生的漂亮红色玫瑰花纹身图案69