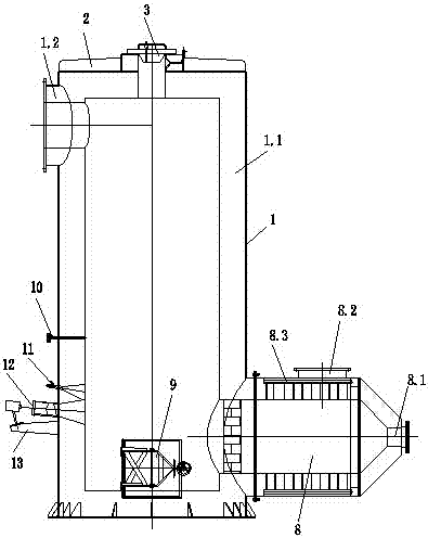
cn105387714a_一种二次燃烧炉有效

高清图片下载 免费 安全无风险
cn105387714a_一种二次燃烧炉有效

cn105387714a_一种二次燃烧炉有效

点击图片查看原图

图片信息

  • 格式: JPG
  • 尺寸: 397x500
  • 大小: 约1.2MB

版权声明

相关标签

自然风光 高清壁纸 4K画质

分享图片

相关推荐

基于当前图片的相似推荐

网友"李钊大哥"的二次燃烧柴气炉尺寸结构分解图

筷子筒做的柴火炉燃烧效果不错

一种二次燃烧炉制造技术

这类烧柴灶点火困难,时间长,污染大,在燃烧时炉内空气量

二次燃烧高效采暖炉的制作方法

关于进藏用柴气炉做饭的柴火问题

燃烧炉二次燃烧方法与流程

二次燃烧高效采暖炉的制作方法

一种二次进风高效节能炉制造技术

观火 #柴火炉 #木煤气 #二次燃烧 #户外露营 #玩火 #solostvee

何为壁炉的二次燃烧

随机推荐

发现更多精彩图片

男头像霸气高冷漫画 帅气的炫酷男生头像 霸气 冷酷_男生动漫头像

红玫瑰, 浪漫, 玫瑰绽放, 美, 白, 关闭了, 单独地, 爱, 玫瑰壁纸

汪小菲求婚成功,再次成为台湾女婿,两位前任送上祝福

美图八块腹肌的美女图赏最后一张

中国最美梯田你去过几个

有点冷白皮的李小冉,一看就是位大美女,不要以为她很瘦,事实上她还是

画示例图片大全关于老师的资料我长大后的梦想是成为一名人民教师人物

卡通水果沙拉免抠图

黑白粗画布肌理纹理素材blackandwhitecanvastextures

一人之下诸葛青发型叫什么

独享下午茶时光椰汁哈密瓜西米露