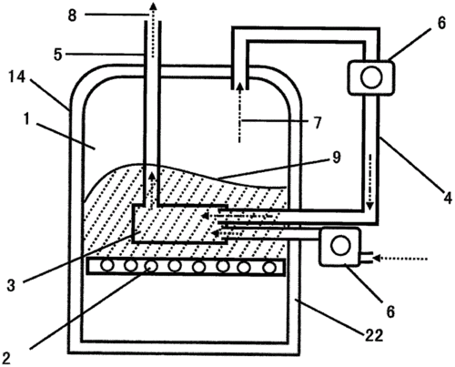
5,燃烧充分:二次燃烧设计,没有经过彻底燃烧的固体燃料会产生气体

高清图片下载 免费 安全无风险
5,燃烧充分:二次燃烧设计,没有经过彻底燃烧的固体燃料会产生气体

5,燃烧充分:二次燃烧设计,没有经过彻底燃烧的固体燃料会产生气体

点击图片查看原图

图片信息

  • 格式: JPG
  • 尺寸: 1500x1500
  • 大小: 约1.2MB

版权声明

相关标签

自然风光 高清壁纸 4K画质

分享图片

相关推荐

基于当前图片的相似推荐

预混式二次燃烧设备原理图

何为壁炉的二次燃烧

预混式二次燃烧节能技术

fgr技术将部分烟气引入燃烧器空气进气口一侧,实现部分废气的再循环

(一次燃烧) (二次燃烧) 图8—13 后旋转窑焚烧炉

一种无烟燃烧的正烧炊事采暖炉的制作方法

燃烧设备加热装置的制造及其应用技术

一种环保处理废气二次燃烧装置的制作方法

一种烟尘二次燃烧炉的制作方法

摩托车二次进气是把废气吸入气缸再燃烧?错了!真实情况是这样

燃烧炉二次燃烧方法与流程

经不锈钢烟气管道吸入到燃烧器进风口,与助燃空气混合进行二次燃烧后

随机推荐

发现更多精彩图片

张钧甯邱泽疑似恋情曝光,不是前几天才被曝和张翰扯证么?

懒蛋蛋 手帐素材 插画 手绘 彩绘 板绘 动漫 头像 壁纸 背景 ins

现代简约轻奢风格别墅钢化玻璃楼梯扶手分享

小爸爸将播文章为徐翠翠写剧本

广告15s海飞丝去屑实力派广告高清完整正版视频在线观看优酷

圈粉| 被评全球100美面孔no.1!林珍娜衣q竟也这么高?

郑秀晶更新ins##郑秀晶ralphlauren全球代言人

治愈系的萌宠很可爱微信头像--头像图派

东风四驱4x4白色天锦自卸车大马力越野自卸运输车_搜狐汽车_搜狐网