气质美女张芮尔

高清图片下载 免费 安全无风险
气质美女张芮尔

气质美女张芮尔

点击图片查看原图

图片信息

  • 格式: JPG
  • 尺寸: 720x1280
  • 大小: 约1.2MB

版权声明

相关标签

自然风光 高清壁纸 4K画质

分享图片

相关推荐

基于当前图片的相似推荐

国内最美车模张芮尔

张芮尔个人资料(身高180以上的最美网红车模张芮尔,现实中凤毛麟角)

日常生活中的美女车模张芮尔,褪去了车展之上的那份高雅,回复了一个

抖音十大美女车模 张芮尔 张芮尔,之前叫张骞羽,1994年出生北京朝阳

近距离的张芮尔你打几分?

日常生活中的美女车模张芮尔,褪去了车展之上的那份高雅,回复了一个

抖音美女红人,张芮尔,是一位身高180的车模,最近在抖音很火

优秀如我#张芮尔车模双击关注

车模张芮尔在车展后台化妆时发现她的膝盖青紫引发网友热议

车模张芮尔:只要被车展商邀请,一场费用起码30多万,超越李凉凉|面馆

张芮尔是中国模特之星大赛亚军,车展上的张芮尔特别漂亮,有许多人认为

随机推荐

发现更多精彩图片

杨采妮唯美迷人写真这颜值真漂亮你们喜欢她吗

斗罗大陆3龙王传说武魂升级唐舞麟武魂进化

格调很高的女生头像

烫发梨花头2022最美的梨花烫发型

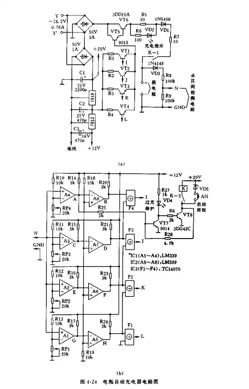
精确的12v电瓶自动充电机电路

赵露思的999场哭戏 | 李乐嫣图楼

多么恬静的乡村风景,约翰·克鲁斯johan krouthen油画风景鉴赏

金枝玉叶盆栽 又名马齿苋树 多肉老桩吸甲醛美观趣味盆景

120斤又怎样 | 有时候我更在乎记录这一瞬间的意义#撸铁女孩 #健身

标签"藤原浩"相关文章

超详细穿衣搭配技巧口诀「小白必备」

能字的部首是什么 能字的部首是什么怎么读